【31条在浙江】省科技厅公布申报省级基础公益研究(含自然科学基金)计划细则
一、适用范围
申报省自然科学基金和公益技术研究计划项目的个人和单位。
适用对象:单位、个人
二、事项审查类型
前审后批
三、办理依据
(一)《中华人民共和国科学技术进步法》第十九条:“国家遵循科学技术活动服务国家目标与鼓励自由探索相结合的原则,超前部署和发展基础研究、前沿技术研究和社会公益性技术研究,支持基础研究、前沿技术研究和社会公益性技术研究持续、稳定发展。”
(二)《中华人民共和国科学技术进步法》第六十条:“财政性科学技术资金应当主要用于下列事项的投入:(二)基础研究;(三)对经济建设和社会发展具有战略性、基础性、前瞻性作用的前沿技术研究、社会公益性技术研究和重大共性关键技术研究;……对利用财政性资金设立的科学技术研究开发机构,国家在经费、实验手段等方面给予支持。”
(三)《浙江省科技进步条例》第四十七条:“财政性科学技术资金应当用于下列事项:(二)支持社会公益性技术研究、科学技术基础研究和软科学研究。第四十八条 省人民政府设立自然科学基金,重点支持基础研究和应用基础研究项目,培养科学技术人才。在自然科学基金中设立杰出青年科学基金项目,专项用于资助优秀青年科学技术人员的科学研究。”
(四)《深化省级财政科技计划(专项、基金)管理改革方案》(浙科发计〔2016〕144号):“围绕知识创新、技术创新、转化应用、环境建设4个创新链环节,优化省级财政科技资金配置,设立基础公益研究(含省自然科学基金)、重点研发、技术创新引导、创新基地和人才4类省级科技计划(专项、基金)。”
四、受理机构
浙江省科学技术厅(浙江省自然科学基金委员会)
五、决定机构
浙江省科学技术厅(浙江省自然科学基金委员会)
六、数量限制
有数量限制,为竞争性申报,以当年度申报通知为准。
七、申请条件
(一)申报单位应当是本省行政区域内的高等学校、科研院所等具有独立法人资格的公益性机构,并按相关管理规定已注册为省自然科学基金的依托单位。
(二)申请人应当是正式受聘于省自然科学基金依托单位的在编在岗科学技术人员,且在项目执行期间每年在依托单位工作时间应不少于六个月。省自然科学基金办根据相关管理规定在每年的申请通告中发布各类项目的具体申请资格。
(三)申请项目应提出明确的研究目标、创新的学术思想、合理的研究方案,申请人和项目组应具有较好的研究工作基础和研究条件。
(四)项目实施后,项目绩效目标中可量化考核的知识创新、人才培养或技术、社会效益指标提升明显。
(五)申报单位和项目负责人以往科研项目实施执行情况、验收结题、配套资金落实、经费管理、科研诚信、知识产权保护和接受监督检查方面情况良好。
八、禁止性要求
无
九、申请材料目录
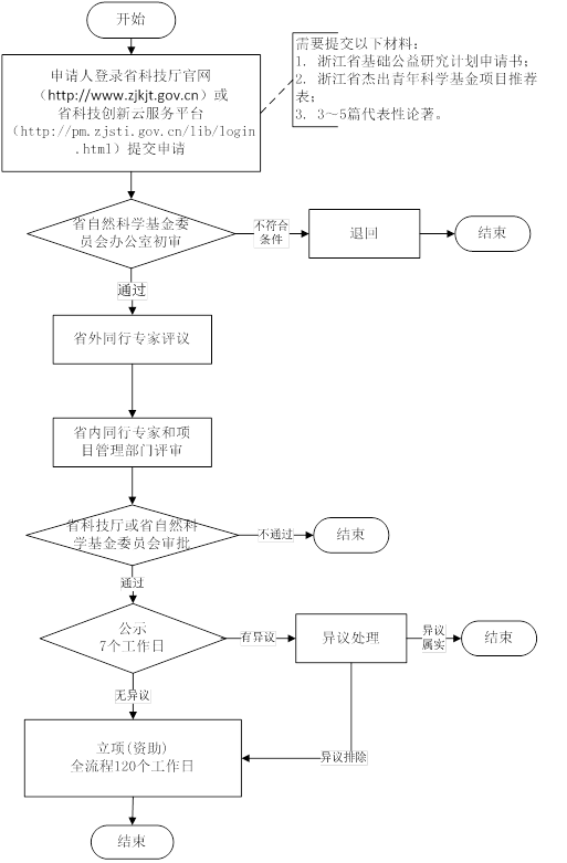
通过浙江科技创新云服务平台提交申请材料并办理,无需提交纸质材料。
(一)浙江省基础公益研究计划申请书。
(二)浙江省杰出青年科学基金项目推荐表。
(三)3-5篇代表性论著。
十、申请接收
办公地址:杭州市文一路115号实验楼8楼
办公信箱:zjnsf@zjnsf.gov.cn
联系电话:0571-88212789、0571-85214970
传真:0571-88935710
十一、办理基本流程
申请—受理—评审—审查—决定
十二、办理方式
网上办理
十三、办结时限
120个工作日
十四、收费依据及标准
不收费
十五、办理结果
资助项目批准通知书
十六、结果送达
自作出决定之日起十五日内送达
送达方式:快递送达
十七、行政相对人权利和义务
(一)行政机关应当告知申请人事项办理结果。
(二)申请人应当对其申请材料实质内容的真实性负责。
十八、咨询途径
电话咨询:0571-88212789、0571-85214970、0571-85214237
十九、监督投诉渠道
监督投诉电话:0571-87056409或“12345投诉热线”
二十、办公地址和时间
办公地址:杭州市文一路115号实验楼8楼
办公时间:夏季:星期一至星期五上午8:30-12:00,下午14:30-18:00;其他季节:星期一至星期五上午8:30-12:00,下午14:00-17:30(法定节假日除外)
二十一、办理进程和结果公开查询
电话查询:0571-88212789、0571-85214970、0571-85214237
网上查询:浙江省科技创新云服务平台 http://www.zjsti.gov.cn,浙江政务服务网 http://www.zjzwfw.gov.cn
附录1 流程图
业务经办流程图(内部流程图)

办事流程图(外部流程图)

附录 常见问题解答
一、省自然科学基金的经费来源:
自然科学基金主要来源于省财政拨款,鼓励自然人、法人或者其他组织通过与自然科学基金联合资助、向自然科学基金捐资等方式资助基础研究工作。
二、省自然科学基金的资助范围:
省自然科学基金主要资助自然科学、工程科学和管理科学等领域中的基础研究、应用基础研究、战略性前沿技术研究以及学术交流等基础性工作。
[责任编辑:郜利敏]



